Från idé till fungerande produkt.

Avancerad produktutveckling med egen prototypverkstad.

Det som skiljer oss från traditionella konsultföretag är den breda erfarenheten och framför allt närheten till produkten.

Som kund hos Säluddens Utveckling får du tillgång till ett brett och väl inarbetat nätverk.

 

Några exempel på vad Säluddens utveckling kan hjälpa till med:

  • Har du kommit på en bra idé, men känner dig osäker på hur du gör för att skapa en kommersiell produkt.

  • Utveckling och tillverkning av kolfiber, glasfiber och armidfiber detaljer. Verktygstillverkning för prototyp och serieproduktion av fiberlaminat för pre-peg och injektionstillverkning.
    (Gör ej kolfiber relaterade arbeten till privatpersoner.)

  • Utveckling och tillverkning av produktionsutrustning och produktionshjälpmedel, t.ex. fixturer, jiggar och maskinanpassningar.

  • Mätutrustning, specialbyggda maskiner för mätning.

  • Projektledning, förstudier och projektgranskningar.

  • Miljötålighetsprovning av nya och befintliga produkter enligt internationella standarder.

  • Konstruktion till flyg och fordonsindustri.

  • Dokumentation och CAD i Solid Works. 

Alla åtaganden av Säluddens Utveckling sker under sekretessavtal om inget annat avtalas.

För att på bästa sätt till vara ta kundens intressen, sker alla åtaganden under sekretess. Publicering av en ide eller uppfinning kan försvåra framtida immateriella skydd som patent och mönsterskydd. Ett patent kan skydda din ide upp till 20 år.

Referenser:

Över 20 års erfarenhet av produktutveckling.

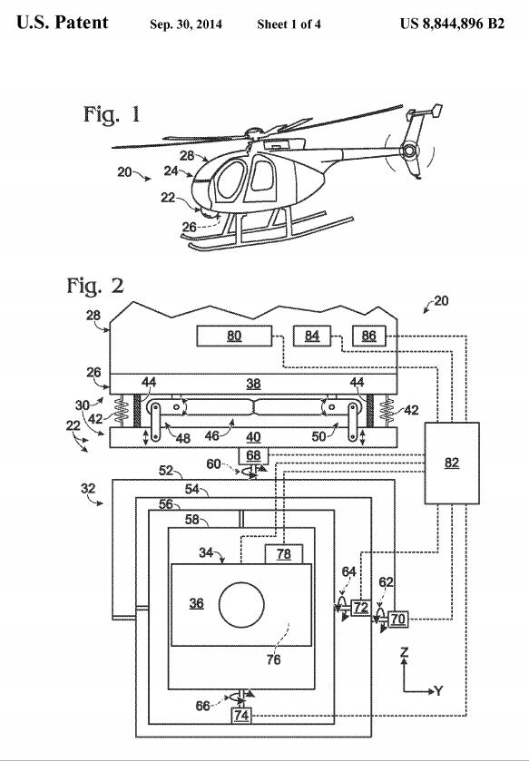
Patent US-20120316685, Vibration mount airborne cameras.

Patent US-20150304612, Multi sensor montering systems and methods.

Patent China 204795370U, Monitoring system and contain its vehicle.

 
 
 

Kontakta oss så hjälper vi dig.

Säluddens Utveckling AB
Vallby Säludden
63509 Eskilstuna
Sweden

© Copyright Säluddens Utveckling AB